數顯維勃稠度儀是測定砼拌合物的維勃稠度值。用于評定混凝土拌合物坍落度在10mm內的混凝土,骨料最大粒徑40mm,符合GBJ80-85的國家標準.
一、數顯維勃稠度儀主要技術參數:
1、坍落度筒
頂部內徑: 100±2mm
底部內徑: 200±2mm
高 : 300±2mm
2、震動臺頻率: 50 ±3Hz
3、震動臺空載振幅(含容器): 0.5±0.05mm
4、壓重 : 2750±50g
5、電機功率 : 0.25Kw
6、電壓: 380V
7、外形尺寸 :380×500×670mm
8、總重 : 50Kg
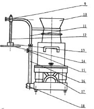
二、數顯維勃稠度儀結構組成

1、容器內徑240±5mm ,高為200±2mm
坍落度筒其內部尺寸為:底部直徑 200±2mm
2、旋轉架
與測桿及喂料口相連。測桿下部安裝有透明且水平的圓盤,并用定位螺釘把測桿固定在數顯表中。旋轉架安裝在立柱上通過十字凹槽來控制方向,并用固定螺絲來固定其位置,就位后測桿與喂料口的軸線與容器的軸線重合。
透明圓盤直徑為230±2mm,厚度為10±2mm。荷重塊直接固定在圓盤上。由測桿、圓盤及荷重塊組成的滑動部分總重量為2750 ±50g。
3、搗棒: 直徑16 mm,長600mm的鋼棒,端部應磨圓。
4、震動臺:工作頻率50±3Hz
三、數顯維勃稠度儀調試方法
儀器出廠前臺面對底平面的不平行度小于1mm ,其測量方法是:將震動臺放在平臺上,用高度尺測臺面四角處的高度,其高度應小于1mm,使用中如發現超差,必須重新調整。調整的方法是:修整四個機腳的厚度。
2、調試零位
將坍落度筒放在容器內,在坍落度筒內裝配重物(其重量相當于料重的重物)。松開四個螺栓,將喂料斗扣緊于坍落度筒上緣,并使旋轉架和立柱按圖(一)中位置扣好,然后擰緊四個六角頭螺檢。松開定位螺釘,按圖位置使透明圓盤放在坍落度筒上,并使立柱和導桿扣好,按數顯表置零鍵調零。
1、放在堅實水平的平臺上,用濕布把容器、坍落度筒、喂料口內壁及其它用具濕潤。
2、將喂料口提到坍落度筒上方扣緊,校正容器位置,使其軸線與喂料口軸線重合,然后擰緊蝶形螺母。
3、把按要求取得的混凝土試樣用小鏟將料分三層裝入坍落度筒內,每層料搗實后約為高度的三分之一,每層截面上用搗棒均勻插搗25下,插搗第二層和頂層時應插透本層,并使搗棒剛剛進入下一層頂層,插搗完畢后刮平頂面。
4、將透明圓盤轉到坍落度筒上方鎖緊定位螺釘并調零。
5、使喂料口、圓盤轉離,垂直地提起坍落度筒,此時并應注意不使混凝土試樣產生橫向扭動。
6、把透明圓盤轉到混凝土圓臺體頂面,放松定位螺絲,降下圓盤,使其能輕輕接觸到混凝土表面,讀出數值即為坍落度值。
7、同時按控制器“啟動/停止”按鈕,當震動到透明圓盤的底面被水泥漿部滿的瞬間再按“啟動/停止”按妞,震動停止,控制器顯示數值(時間:單位秒)即為維勃稠度值。
五、數顯維勃稠度儀的維護和檢查
1、每使用一次,必須將容器、喂料口、坍落度筒及透明圓盤洗凈,并用布擦凈,尤其是透明圓盤上的泥漿必須擦凈,以便下次觀察。(清洗儀器后將儀器擦干,特別是電器部分一定要注意防潮)。
2、每次起振前,必須檢查各部件、零件是否定位,各處螺釘是否上緊。
3、長期使用,透明圓盤如磨毛,應及時拋光,如厚度小于8mm, 應及時更換。使用中,如壓重小于2700 克,
北京宏達路業商貿有限公司版權所有-未經許可不得轉載
地址:北京市豐臺區總部基地園區
聯系電話:010-83623985


